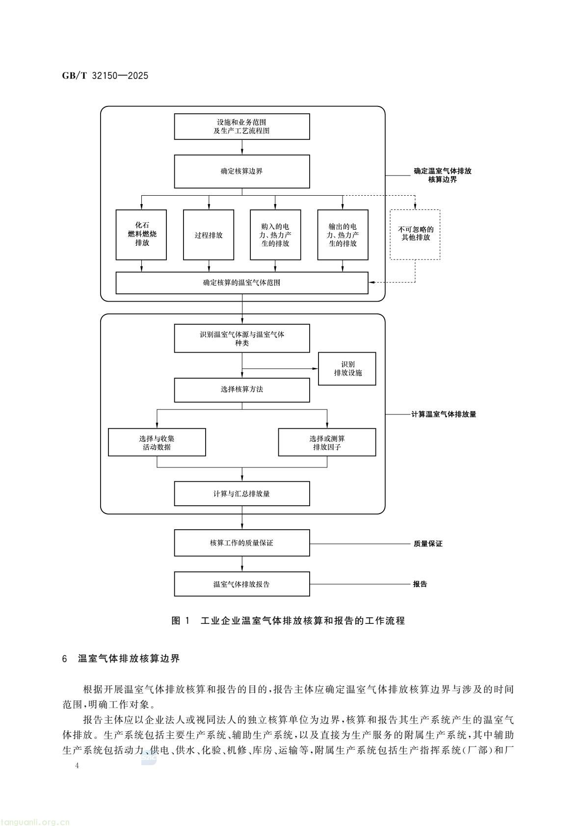
GB/T 32150-2025《工业企业温室气体排放核算和报告通则》将于2026年7月1日实施,替代旧版2015版标准。该标准明确排放核算与报告的6项核心内容,划定含三大生产系统的核算边界,覆盖化石燃料燃烧、生产过程、电热力购销相关排放三大核算范围,既指导工业企业相关标准编制,也为其他企业核算报告提供方法参考。相较于旧版,除结构和编辑性调整外,标准新增碳汇、碳清除等术语,将“燃料燃烧排放”修订为“化石燃料燃烧排放”并更新定义;同时补充温室气体汇、不可忽略其他间接排放相关内容,明确外购非化石能源电、热力排放因子的确定与选取要求,新增其他间接排放类别及非化石能源电力排放因子取值要求与证明文件相关规定。
具体如下:


















来源:国家标准化管理委员会
Copyright © 2012-2018 碳排放管理师 版权所有 京ICP备2021040916号-2